<<<   Фото 139   | |   Фото 141   >>>

Показать оглавление

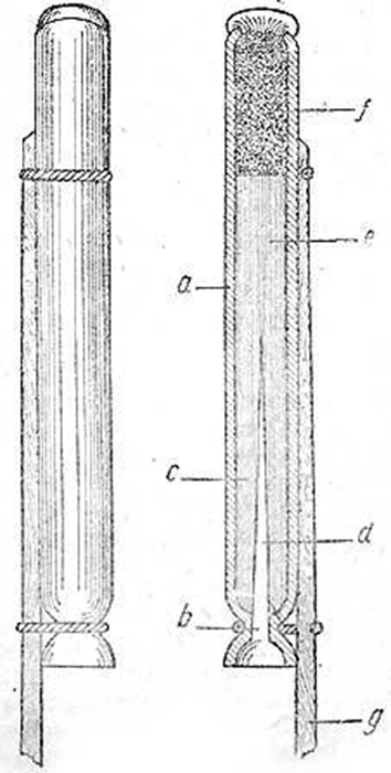
Фото 140

Петровская сигнальная ракета образца 1717

Петровская сигнальная ракета образца 1717